此処毎日フライス仕事。
其の仕事をしながらも、気に成っている事項。
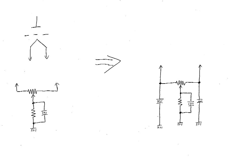
アンプの出力インピーダンス。
この場合、パワーアンプの出力はとりあえず除外。
最近手がけたバッファアンプ。
最初は自分の装置でVT25使用のアンプ。
続いて手がけたのが、ECC82でのバッファアンプ。
バッファアンプは基本的に増幅はしません。
インピーダンスの変更が目的。
つまりアンプ全体の必要ゲインにはまったく係わりの無いアンプなんですね。
しかも信号回路が全体の中で増える。
信号回路をシンプルに、と考えたら要らないアンプなんですね。増幅段が増えるんですから。
でも最近、アンプ間のインピーダンス(信号の受け渡し)を考えたら、必要なのでは・・・・・。
実は20年以上前に、トランスを使わないバッファアンプを作ったのですね。単に悪戯だったのですが・・・・(この時の目的はインピーダンスではなく真空管のノンリニア打消し)。
其のアンプをプリとパワーの間に噛ますと、音質のアップが認められたのです。
当時の僕は、此処まで効く筈は無い。で済ませちゃったんですね。
その時に考えたのは、この変化はノンリニアの是正ではない。なにか僕の理解不能のところで何かが起きている・・・・・・。
あの時のバッファはカソフォロと直結のコンポジット(僕の嫌いなカソフォロだったのです)。
あの当時の僕のレベルでは判断不能(自分で作ったのにね、笑)。
今なら、少なくとも仮説が立てられる。インピーダンスのマッチングが取れたんではないかと・・・。
今日、チョイ頑張ったバッファアンプを作る為に、トランスを4個発注。
失敗したら無駄な投資だけど、そんな事よりも試してみたい誘惑の方が数倍上。
机の上の考えなんて、下手な考え休むに似たり。
考える暇が有ったら、行動を。
また面白いネタが見つかったぞー・・・・・・。
軽く追記。
トランスで昇圧するのは精々4~5倍までです。インピーダンスは巻き数比の二乗ですから、此れだけ持ち上げてしまうとトランス一次側のインピーダンスはもの凄く低いものに。
其のトランスを駆動するには、トランス前段の出力インピーダンスにもの凄く低いものが要求されます。
通常動作の真空管では厳しいんですね。
昔から考えていました(直感で、笑)。増幅は真空管が得意、信号受け渡しはトランスが得意。
この直感、当たっていたみたいです。
其の仕事をしながらも、気に成っている事項。
アンプの出力インピーダンス。
この場合、パワーアンプの出力はとりあえず除外。
最近手がけたバッファアンプ。
最初は自分の装置でVT25使用のアンプ。
続いて手がけたのが、ECC82でのバッファアンプ。
バッファアンプは基本的に増幅はしません。
インピーダンスの変更が目的。
つまりアンプ全体の必要ゲインにはまったく係わりの無いアンプなんですね。
しかも信号回路が全体の中で増える。
信号回路をシンプルに、と考えたら要らないアンプなんですね。増幅段が増えるんですから。
でも最近、アンプ間のインピーダンス(信号の受け渡し)を考えたら、必要なのでは・・・・・。
実は20年以上前に、トランスを使わないバッファアンプを作ったのですね。単に悪戯だったのですが・・・・(この時の目的はインピーダンスではなく真空管のノンリニア打消し)。
其のアンプをプリとパワーの間に噛ますと、音質のアップが認められたのです。
当時の僕は、此処まで効く筈は無い。で済ませちゃったんですね。
その時に考えたのは、この変化はノンリニアの是正ではない。なにか僕の理解不能のところで何かが起きている・・・・・・。
あの時のバッファはカソフォロと直結のコンポジット(僕の嫌いなカソフォロだったのです)。
あの当時の僕のレベルでは判断不能(自分で作ったのにね、笑)。
今なら、少なくとも仮説が立てられる。インピーダンスのマッチングが取れたんではないかと・・・。
今日、チョイ頑張ったバッファアンプを作る為に、トランスを4個発注。
失敗したら無駄な投資だけど、そんな事よりも試してみたい誘惑の方が数倍上。
机の上の考えなんて、下手な考え休むに似たり。
考える暇が有ったら、行動を。
また面白いネタが見つかったぞー・・・・・・。
軽く追記。
トランスで昇圧するのは精々4~5倍までです。インピーダンスは巻き数比の二乗ですから、此れだけ持ち上げてしまうとトランス一次側のインピーダンスはもの凄く低いものに。
其のトランスを駆動するには、トランス前段の出力インピーダンスにもの凄く低いものが要求されます。
通常動作の真空管では厳しいんですね。
昔から考えていました(直感で、笑)。増幅は真空管が得意、信号受け渡しはトランスが得意。
この直感、当たっていたみたいです。
コンデンサーの仕組み。理解出来ましたでしょうか?
まあ、此処に来られる方達には、退屈だったかもしれませんが・・。
で、スタッカード。対角線の配線同士を繋いでいます。
と言う事は、電流を流している配線の、向かい合っている面積が広がります。
つまり、配線間にコンデンサーが出来るのですね。
日本中に供給されている電流。
オシロスコープで見た事が有りますか?
サインウェーブなんてトンでもない。僕の所は富士山型。しかも頂上片側が低い。と言うトンでも波形です。
更に問題。パルス状のノイズが沢山含まれています。
パルスノイズは、非常に高い周波数とも言えます。
此処でコンデンサー・・・。
配線間にコンデンサーが・・・・・。
つまり周波数の高いノイズ成分は、スタッカード接続によって出来上がったコンデンサーによって、短絡されてしまうのですね。
アンプ迄届く前に、配線内部でショートされてしまうのです。
此れがスタッカード接続の、一番のメリットです。
こう成ると、信号ラインに使っては拙いのも判る筈。
配線の長さと、絶縁物の薄さによっては、高域成分が短絡されます。
昔、V社から発売されたスピーカーケーブル。極細配線を何本も拠りあわせ、コンデンサー成分を沢山作っていました。
で、それをまねて、更に細い配線を無数に寄り合わせた配線が発売されました。
この配線をスピーカーケーブルに使ったお客様。
アンプを壊しました。出力端子にコンデンサーがパラレルに接続されたのと同じ事に成って、高域発信を起こしてしまったのです。
量販店で働いていたある日、初めてのお客様。
『アンプから煙が出て壊れてしまった。同程度の新しいアンプが欲しい。』
当時流行の¥59800プリメインアンプ。
僕は。一番好きだったアンプを薦める。
お客様、納得されて購入。お持ち帰り。
数時間後、お客様から電話。
『ボリュームを上げると、リレーが働いて音が止まってしまう。小音量で無いと聞けない。』
僕は直ぐに、代わりのアンプを持ってお客様の所へ・・・。
確かに音量をチョットでも上げると、カチッと言ってリレーが働き、アンプが動作を止める。
持って行ったアンプと交換しようとして、僕は後ろの配線に手を掛けた。
スピーカーケーブルが、シェルリード線程の極細線を、数十本寄り合わせたもの。
ハハ~~~ン。
ピ『前のアンプが壊れたのは、このケーブルに換えてからでは有りませんか?』
『言われてみると、確かにその様な・・・・・。』
ピ『以前使われていた、普通のスピーカーケーブルは有りますか?』
お客様は、その辺から以前使っていたケーブルを・・。
僕はそのケーブルに取替え、アンプのSWをON。
レコードを聴きながら、音量を上げる。
いたって正常。
ヤハリ・・・・・。
お客様『秋葉原の店で、一番音の良いスピーカーケーブルをくれ、と言ったら此れを出された・・・。』
即、そのケーブルはゴミ箱の中。
長くこの世界にいますと、色々と経験させられます。
まあ、此処に来られる方達には、退屈だったかもしれませんが・・。
で、スタッカード。対角線の配線同士を繋いでいます。
と言う事は、電流を流している配線の、向かい合っている面積が広がります。
つまり、配線間にコンデンサーが出来るのですね。
日本中に供給されている電流。
オシロスコープで見た事が有りますか?
サインウェーブなんてトンでもない。僕の所は富士山型。しかも頂上片側が低い。と言うトンでも波形です。
更に問題。パルス状のノイズが沢山含まれています。
パルスノイズは、非常に高い周波数とも言えます。
此処でコンデンサー・・・。
配線間にコンデンサーが・・・・・。
つまり周波数の高いノイズ成分は、スタッカード接続によって出来上がったコンデンサーによって、短絡されてしまうのですね。
アンプ迄届く前に、配線内部でショートされてしまうのです。
此れがスタッカード接続の、一番のメリットです。
こう成ると、信号ラインに使っては拙いのも判る筈。
配線の長さと、絶縁物の薄さによっては、高域成分が短絡されます。
昔、V社から発売されたスピーカーケーブル。極細配線を何本も拠りあわせ、コンデンサー成分を沢山作っていました。
で、それをまねて、更に細い配線を無数に寄り合わせた配線が発売されました。
この配線をスピーカーケーブルに使ったお客様。
アンプを壊しました。出力端子にコンデンサーがパラレルに接続されたのと同じ事に成って、高域発信を起こしてしまったのです。
量販店で働いていたある日、初めてのお客様。
『アンプから煙が出て壊れてしまった。同程度の新しいアンプが欲しい。』
当時流行の¥59800プリメインアンプ。
僕は。一番好きだったアンプを薦める。
お客様、納得されて購入。お持ち帰り。
数時間後、お客様から電話。
『ボリュームを上げると、リレーが働いて音が止まってしまう。小音量で無いと聞けない。』
僕は直ぐに、代わりのアンプを持ってお客様の所へ・・・。
確かに音量をチョットでも上げると、カチッと言ってリレーが働き、アンプが動作を止める。
持って行ったアンプと交換しようとして、僕は後ろの配線に手を掛けた。
スピーカーケーブルが、シェルリード線程の極細線を、数十本寄り合わせたもの。
ハハ~~~ン。
ピ『前のアンプが壊れたのは、このケーブルに換えてからでは有りませんか?』
『言われてみると、確かにその様な・・・・・。』
ピ『以前使われていた、普通のスピーカーケーブルは有りますか?』
お客様は、その辺から以前使っていたケーブルを・・。
僕はそのケーブルに取替え、アンプのSWをON。
レコードを聴きながら、音量を上げる。
いたって正常。
ヤハリ・・・・・。
お客様『秋葉原の店で、一番音の良いスピーカーケーブルをくれ、と言ったら此れを出された・・・。』
即、そのケーブルはゴミ箱の中。
長くこの世界にいますと、色々と経験させられます。
今日は、明日納めるアンプの電源コードの作成。
電源コードにも、チョット拘っています。
HPの方にも載っていますが、スタッカード接続。
此処へ来られる方にも『スタッカード接続』の検索で来られる方が、結構多いのです。
言葉は知っている。でも接続方法は知らない。接続は知っているけど、どの様な理由で使うのか?
その辺の解説です。
基本的に4芯の配線材を使います。
写真を見ていただくと判りますよね。4本の線を対角線上で接続しています。
単に配線の抵抗を半分にしたいのでしたら、対角線ではなく隣と接続しても同じです。
なぜ対角線なのでしょう?
エーーーー。此処からはコンデンサーの話へ・・。
スタッカード接続は、コンデンサーを理解しないと、意味不明に終わります。
コンデンサー。詳しく勉強したい方は是非専門書で勉強して下さい。その勉強が済んでから、あの真空管の音はどうこうと騒いでも、遅くは有りません。
逆にコンデンサーの働きも判らないで、あのトランスは・・・。なんて騒いでいる人が、多過ぎる様に感じます。
コンデンサー。最近はキャパシターなんて呼んでいますね。基本的に同じ物です。
構造は導電物質(基本的には金属)で絶縁体を挟んだ物。
つまり二枚の金属の間に絶縁体が有ります。
で、このコンデンサーの容量は、向かい合っている金属の面積と、絶縁体の厚みで決まります。
絶縁体の厚み=金属板間の距離。
そして、向かい合っている面積が大きく、絶縁物が薄い程、容量は大きく成ります。
此処で、コンデンサーの基本性格。
直流は通しません。交流は通しますが抵抗を持ちます。この抵抗値をリアクタンスと呼びます。
計算式は、
Ω(リアクランス)=1÷(2πfc)に成ります。
fは周波数、cはコンデンサー容量(単位はF)
つまり周波数によって抵抗値は変わり、周波数が高い程抵抗値が減り、コンデンサーの容量が大きい程、ヤハリ抵抗値は減るのです。
此処で直流ですとfが0ですからリアクタンスは無限大に成るのですね。
此処迄を要約すると、コンデンサーは金属が向かい合うと出来上がる(絶縁体が空気でも出来る)。
向かい合う面積が大きく、間隔が狭いと容量が大きく成る。
周波数が高い程、通し易く成る。
この事を良く考えて、スタッカード接続を見て下さい。
続く
略片chが完成しました。
で、途中でネタを思いつき・・・・(笑)。
コンデンサーが、沢山パラって有ります。
両側に立てラグを配し、全てをパラレルに。
其処で・・・・・・・・・。
赤矢印のラグ端子。コンデンサーの付いていない遊びの端子です。
でも、全てハンダ付けをして有りますね。
何故でしょう?
大きな信号ラインですのでまず心配は要らないのですが、小信号ラインと同じ配線をしています。
プリアンプの内部でしたら、必ず必要な処理なのです。
この様な信号ラインの鉄則。遊んでいる金属片は撤去(またはアース)。
金属が一種のアンテナになってノイズ発生源に成るのです。
特にギリギリでついていたりしますと、振動でついたり離れたり。
こう成ると、ショックノイズに悩まされます。
30年近く前に失敗して覚えました。
こんな事、誰も教えてくれません。
『失敗は最高の教科書。成功はその後に何も生み出さない。』
なんて、かっこつけてみました。
昨日のネットワークの功罪に、意図的に入れなかった問題点。
ハイ、今日のタイトルです。
ダンピングファクター。簡単に言えばパワーアンプのスピーカーに対する駆動力。最大出力では有りません。
計算式は
スピーカーインピーダンス÷アンプの出力インピーダンス。
つまりアンプの出力インピーダンスが低ければダンピングファクターは大きく成ります。
昔のJBLはこの数値を指定して、合うアンプで駆動する様にとマニュアルに書いて有りました。
また、有る評論家は『高い程良い。』なんて言っていましたが・・・・・・。
一時ダンピングファクター競争が有って、各メーカーのパワーアンプのカタログに、ダンピングファクター100とか200と言う数字が踊っていました。
単純に考えますと、確かに高い程良いのです。スピーカーのインピーダンス変動に関係なく駆動できますから。
振動板の磁気制動も強力に成りますし・・。
ヤッパリね。と考えたら机上の理論。
現実は甘くない(笑)。
これから僕が書く内容。僕が考えたのではなく、有る人の本を読んで納得した事です。
この本、40年近く前に発行の予定。
内容はスピーカーの基本原理がみっちりと書いてあり(有るスピーカーメーカーの社長が執筆者)、雑誌に書いて有った当時の(今もか)常識を覆す事が沢山書いてあったんですね。
で、発禁に・・・・・・。圧力が掛かったのです。
執筆者も圧力を掛けた人間も、もう亡くなっていますので・・・・・。
僕がこの本を読んだのは20代後半。
貸してもらうときの条件。他人には見せないこと(当時はコピー機などと言う便利な機械はなかった)。1週間で返す事。
必死で読破しました。
其の中の、ダンピングファクターの話。
上の計算式は合っている。でも重大な数値が抜けている。其れはボイスコイルのDCR。この計算式はボイスコイルのDCRがゼロの時には成り立つ。
もう此処迄で、ダンピングファクターを理解している方なら判りましたよね。
アンプの出力インピーダンスがゼロでも、ダンピングファクターは精々3が限界だって。
メーカー発表の数値なんて、所詮そんなものです。
追記。今この本がどこかに有ったらもう一度読みたい。ホーンの原理も沢山書いて有ったのだけれど、当時の僕には理解不能。今読んだら・・・・・・。残念。
オット、更に追記。
コーンユニットのfo以下の周波数は出ない。これも・・・・・・。
ハイ、今日のタイトルです。
ダンピングファクター。簡単に言えばパワーアンプのスピーカーに対する駆動力。最大出力では有りません。
計算式は
スピーカーインピーダンス÷アンプの出力インピーダンス。
つまりアンプの出力インピーダンスが低ければダンピングファクターは大きく成ります。
昔のJBLはこの数値を指定して、合うアンプで駆動する様にとマニュアルに書いて有りました。
また、有る評論家は『高い程良い。』なんて言っていましたが・・・・・・。
一時ダンピングファクター競争が有って、各メーカーのパワーアンプのカタログに、ダンピングファクター100とか200と言う数字が踊っていました。
単純に考えますと、確かに高い程良いのです。スピーカーのインピーダンス変動に関係なく駆動できますから。
振動板の磁気制動も強力に成りますし・・。
ヤッパリね。と考えたら机上の理論。
現実は甘くない(笑)。
これから僕が書く内容。僕が考えたのではなく、有る人の本を読んで納得した事です。
この本、40年近く前に発行の予定。
内容はスピーカーの基本原理がみっちりと書いてあり(有るスピーカーメーカーの社長が執筆者)、雑誌に書いて有った当時の(今もか)常識を覆す事が沢山書いてあったんですね。
で、発禁に・・・・・・。圧力が掛かったのです。
執筆者も圧力を掛けた人間も、もう亡くなっていますので・・・・・。
僕がこの本を読んだのは20代後半。
貸してもらうときの条件。他人には見せないこと(当時はコピー機などと言う便利な機械はなかった)。1週間で返す事。
必死で読破しました。
其の中の、ダンピングファクターの話。
上の計算式は合っている。でも重大な数値が抜けている。其れはボイスコイルのDCR。この計算式はボイスコイルのDCRがゼロの時には成り立つ。
もう此処迄で、ダンピングファクターを理解している方なら判りましたよね。
アンプの出力インピーダンスがゼロでも、ダンピングファクターは精々3が限界だって。
メーカー発表の数値なんて、所詮そんなものです。
追記。今この本がどこかに有ったらもう一度読みたい。ホーンの原理も沢山書いて有ったのだけれど、当時の僕には理解不能。今読んだら・・・・・・。残念。
オット、更に追記。
コーンユニットのfo以下の周波数は出ない。これも・・・・・・。
