鋭い方は、この図面を見ただけで、今日のネタが判りましたよね(笑)。
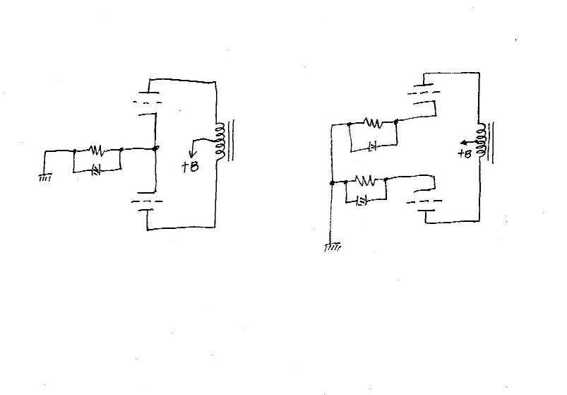
標準的なプッシュプル回路です。
どちらも自己バイアス。
違う点は、バイアス抵抗を1個で済ますか2個つけるか。
音色的には差が無いと思います。
パスコン(注1)の質が悪いと、左の方が良い音質かも知れません。
理論的に、二つのカソードに現れる信号は、逆相で同レベル。
つまり1個の抵抗にすると、両信号は打ち消しあって、信号レベルはゼロ。
極論を言えば、パスコンは必要有りません。
対して右の回路。
逆相の打消しが無いので、パスコンの働きは、非常に重要に成ります。
パスコンの種類で、音がコロコロ変わります。
さて、僕はどちらを使うでしょう?
答えは明日。
注1。
パスコン、正しくはバイパスコンデンサー。
カソードに入っているバイアス抵抗に、パラレルに入っているコンデンサーです。
此れの働きは、非常に重要です。
真空管の動作原理。
カソードは、シャシに対して直流的に電位を持ち、交流的には同電位(自己バイアスの場合)。
つまり、直流的に電位を持たせる為のバイアス抵抗。その両端に現れる交流信号(オーディオ信号)を短絡させるのがパスコンの働きです。
現実的には、理想コンデンサー(注2)は有りませんので、カソードの交流電位はゼロには成りません。
また、計算上のカットオフ以上の周波数でも、コンデンサーのリアクタンスがゼロには成りませんので、どうしても交流信号は残ります。
注2。
理想コンデンサー。計算上のリアクタンスだけを持ち、それ以外の要素(インダクタンス、その他)を持たない理論上のコンデンサー。
この記事のトラックバックURL
この記事へのトラックバック
